papi酱卸任MCN机构董事,该机构此前被罚没3.6万元
2024年05月17日 | 浏览量:70929
(原标题:papi酱卸任MCN机构董事,该机构此前被罚没3.6万元)

图片来源于网络,如有侵权,请联系删除
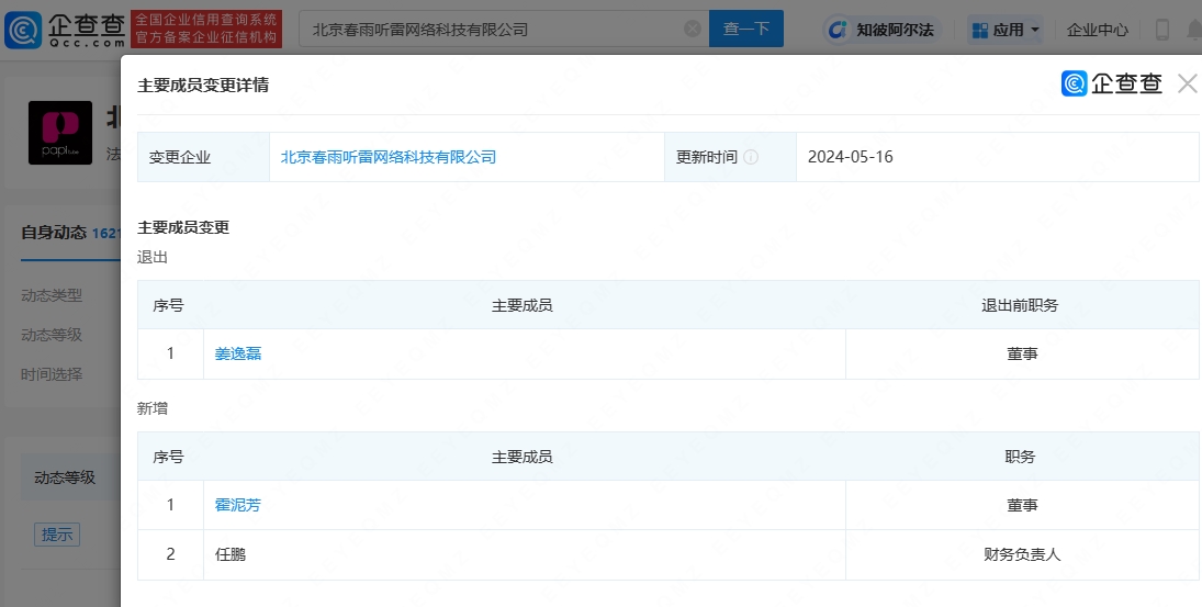
企查查APP显示,近日,北京春雨听雷网络科技有限公司发生工商变更,姜逸磊(艺名:papi酱)退出,不再担任董事职务。

图片来源于网络,如有侵权,请联系删除


图片来源于网络,如有侵权,请联系删除
资料显示,北京春雨听雷网络科技有限公司成立于2016年5月,法定代表人为杨铭,注册资本100万元人民币,是一家由杨铭和papi酱创立的MCN机构。风险信息显示,该公司曾因广告违法被北京市房山区市场监督管理局行政处罚及没收金额共计3.6万元。
据了解,北京春雨听雷网络科技有限公司另一位董事霍泥芳为papitube CEO,负责集团短视频及直播业务,她毕业于中央戏剧学院表演专业,有多年影视剧演员经历,也是papi酱短视频内容创始团队成员。
南财快讯记者注意到,近期MCN机构违规频现。
据21世纪经济报道4月的报道,知名博主“猫一杯”因编造“秦朗巴黎丢作业本”虚假内容吸引流量,被平台及公众揭露,引发广泛关注和讨论,涉事MCN机构因管理不善被质疑,最终博主被平台封号处理,涉事MCN机构或面临清退。
“点读机女孩”高君雨微博账号发布手术库存视频。3月12日,杭州余杭区互联网违法和不良信息举报中心发布声明称,经核实,MCN机构杭州豁然开朗科技有限公司近期发布的高君雨自曝患罕见脑瘤并接受手术治疗相关视频为2023年9月拍摄,2024年开始剪辑制作,被该MCN机构配以近期发生的文字描述发布到网络。
本文部分来源 21世纪经济报道 (记者:雷晨、钟雨欣)
本文来源:悠享生活网
本文地址:https://www.xcydns.com/post/526.html
关注我们:微信搜索“xiaoqihvlove”添加我为好友
版权声明:如无特别注明,转载请注明本文地址!
- •集运欧线突然大跌16%,啥情况?分析师:可能有两大原因
- •纳指再创新高,纳斯达克指数ETF(159501)早盘飘红,近10个交易日累计“吸金”超8亿元丨ETF观察
- •农业板块活跃,农业50ETF、粮食50ETF涨超2%
- •A股三大指数早盘集体调整,新能源ETF基金(516850)收平,中材科技涨停
- •AI广告股AppLovin一年涨超600%!A股“影子股”是它,今日20CM涨停
- •芯片股午后爆发,芯片产业ETF(159310)涨近3%,机构:持续看好受益先进算力芯片快速发展的HBM产业链
- •ETF基金日报丨电池主题相关ETF涨幅居前,机构:锂电行业基本面边际好转趋势明确
- •香港科技ETF(159747)涨2.9%,中金测算今年南向资金流入空间还有约6000亿-8000亿港元
- •公告精选丨嘉必优:拟购买欧易生物65%股权,明起复牌;英搏尔:与亿航智能签署战略合作协议
- •ETF每日观察(12月25日)|银行板块ETF维持强势,深交所旗下深证信息发布新指数

